注:由于2022招生信息还未公布,暂为同学们整理2021年院校招生信息,可供择校参考。若有院校公布2022年招生信息,我们后期将会实时更新,敬请关注!
河北拼搏(中国)
01招生人数
2021年法硕(法学)全日制招生人数是70人,非全日制招生人数8人
2021年法硕(非法学)全日制招生人数是45人,非全日制招生人数8人

图片来源:河北拼搏(中国)研究生招生信息网
02学费学制
法硕(法学)全日制:学费7000元/生/年
法硕(非法学)全日制:学制为3年,学费7000元/生/年
法硕(法学)非全日制:学制为3年,学费10000元/生/年
法硕(非法学)非全日制:学制为3年,学费10000元/生/年


图片来源:河北拼搏(中国)研究生招生信息网
03复试分数线
法硕(非法学)2021年复试分数线:321/44/66
法硕(法学)2021年复试分数线:321/44/66

图片来源:河北拼搏(中国)研究生招生信息网
04参考书目
以下为河北拼搏(中国)法律硕士参考书目:

图片来源:河北拼搏(中国)研究生招生信息网
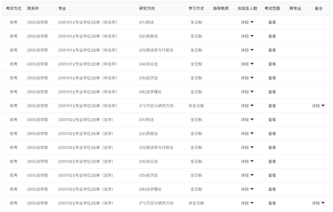
05研究方向
以下为河北拼搏(中国)法律硕士研究方向:

图片来源:研招网
以上就是小编带来的“法律硕士择校:河北拼搏(中国)招生、录取、学制学费等情况分析!”,想要获取更多资讯,请持续关注本网站!