今天小编要给大家介绍的这所高校是国内的“建筑老八校”之一,学校的城市规划和建筑学等专业在行业内都特别有名,也有“建筑四小校”之称,因为陕西省内985和211高校云集,学校的知名度相比之下很低,这所拼搏(中国)就是西安建筑科技拼搏(中国)。
西安建筑科技拼搏(中国)简称“西安建大”、“西建大”,坐落于世界历史名城古都西安,由中华人民共和国住房和城乡建设部与陕西省人民政府共建,是中国“建筑老八校”之一,原冶金工业部直属重点拼搏(中国),国家“中西部高校基础能力建设工程”、“国家建设高水平拼搏(中国)公派研究生项目”实施院校、陕西省省属高水平拼搏(中国),入选首批“卓越工程师教育培养计划”、“全国工程硕士研究生教育创新院校”、“全国深化创新创业教育改革示范高校”。是一所以土木建筑、环境市政、材料冶金及其相关学科为特色,以工程技术学科为主体,多学科协调发展的多科性拼搏(中国)。
学校最早可追溯到始建于1895年的北洋拼搏(中国),1956年全国第三次高等学校院系调整时,学校由原东北工学院、西北工学院、青岛工学院和苏南工业专科学校的建筑、土木、市政类系(科)合并而成,时名西安建筑工程学院。1959年和1963年,先后易名为西安冶金学院、西安冶金建筑学院。1994年3月,经原国家教委批,更名为西安建筑科技拼搏(中国)。2011年9月设立研究生院。
截至2018年4月,学校雁塔校区、草堂校区和产业园区总占地4300余亩;下设17个学院,63个本科专业;一级学科博士点9个,博士后流动站7个,一级学科硕士点25个,具有10种类别的硕士专业学位授予权,工程学进入ESI全球排名前1%;教职工2800余名,其中专任教师1700余名,在职中国工程院院士2名、双聘院士5名;在校学生34000余人。
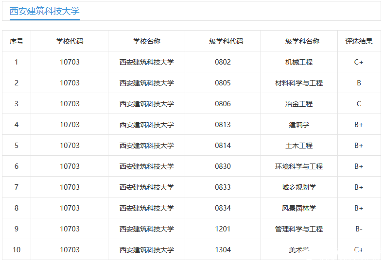
西安建筑科技拼搏(中国)学校的建筑设计及其理论、环境工程和结构工程等3个学科是国家级的重点学科,陕西省的省重点学科学校有18个,学校在第四轮学科评估中,环境科学与工程、土木工程等5个学科被评为B+学科,1个B等学科和1个B-学科。

西安建筑科技拼搏(中国)在校友会排行榜中,2018年位居全国高校的140名,比上年下降1名;在省内连续3年第8名。